洲聚零代码平台
洲聚零代码平台简介
环境要求
技术参数
Linux所需相关组件
快速入门
平台角色
搭建过程
表单创建
应用功能设计
分组管理
新建普通业务
新建视图列表
新建树列表
新建文件列表
新建内嵌网页
新建引用功能
新建外部数据源列表
新建自定义页面
表单管理
表单组件
一行两列
一行三列、四列
单行文本
多行文本
日期控件
时长
单选
复选
下拉框控件
级联下拉
关联控件
数字
SAP控件
审核意见
表单域
附件
附件(可查看)
图片
人员
部门
富文本框
HTML
阅读范围
树形控件
隐藏域
多选控件
服务填值控件
自动完成
OCR识别
添加子表
流水号控件
二维码
定位
标签
条形码
Html
链接控件
弹窗
分割线
按钮组件
时间轴
创建人、部门等控件
系统字段
用户字段
自定义组件
基础属性
默认值
隐藏规则
计算规则
禁用规则
校验规则
数据范围
高级范围
区间规则
子表初始化规则
字段描述
表单属性
基础属性-标题
基础属性-消息模板
基础属性-表单校验
基础属性-页签设置
高级属性-启用版本
高级属性-启用锚点
高级属性-表单已读
高级属性-表单加载后调用业务服务
高级属性-保存后调用业务服务
高级属性-字段权限
高级属性-按钮设置
高级属性-脚本设置
列表设置
通用设置
基本设置
列设置
查询条件
左树右列表设置
行颜色设置
移动端设置
移动端列设置
表单字段导入配置手动修改
流程设计
操作介绍
开启、关闭流程
流程设置
流程节点介绍
活动属性
一般设置
显示
参与者
FindUserByCodeAndGroupName
参与者函数说明
权限
操作权限
子表设置
规则
协办
高级
抄阅
规则引擎
可视化界面
服务组件库
基于界面可视化配置
实时预览和验证
流程执行与控制
变量与计算
条件判断
函数/方法调用
内置组件
设置变量
日志
消息提示
自定义节点
条件
遍历
终止节点
设置表单值
禁用复选选项
关闭当前表单页面
新增表单
编辑表单
删除表单
连接器应用
追加新文本
列表聚合成文本
获取列表指定位置项
列表插入一项
连接器应用
数据源连接
鉴权管理
API管理
API日志
实战进阶
基础增删查改应用
创建应用
创建菜单
表单搭建
列表设计
多表间数据关联
创建合同管理
使用关联控件
前台操作
子表管理
子表数据源
子表设置
流程搭建
流程创建
流程设置
高级设计
数据权限
按钮设置
顶部按钮
表单打印按钮说明
列表自定义按钮
表单自定义按钮
按钮显示条件
业务方法
组件入参设置
API网关
后台管理
控制台
组织机构
组织成员
成员管理
已禁用账号
组织类型
组织岗位
组织机构同步-同步第三方数据库
组织机构同步-同步第三方数据库(DB同步)
显示设置
应用管理
应用权限
应用管理
应用基础管理
基本信息修改
启用与禁用
管理员设置
删除应用
企业管理
设置中心
账户设置
数据源管理
自定义规则管理
业务集成
移动端管理
组件管理
界面设置
权限管理
流程监控
日志管理
配置中心
系统
系统管理
工作日历
消息设置
系统管理员设置
系统参数-单点登录
系统参数-文件大小限制调整
系统参数-第三方接口
Vue组件
进度条组件
第三方集成
企业微信集成配置
企业微信js\-sdk配置
企业微信应用配置(单租户)
企业微信服务商代开发应用(多租户)
钉钉集成配置
钉钉应用配置
二次开发
Vue脚本接口
专题文档
列表专题
视图中显示附件并能下载
树列表搭建
表单专题
多级联动下拉框
打印模板为表格时,如何给每条数据自动生成序列号?
流水号自定义模板
视图中显示附件并能下载
下拉框控件使用数据源时设置默认值
函数专题
如何使用ManagerOf函数找上级?
如何根据不同成员寻找各自的上级?
流程专题
如何设置表单查重?
如何设置表单按钮在流程结束以后出现?
流程状态编码
批量审批
如何设置倒计时?
业务集成
子表数据插入其他表示例
数据反写示例
接口补偿操作手册
第三方系统接口调用 -节点调用服务
第三方系统接口调用 - 函数调用服务
第三方系统接口调用 - 示例代码(webapi)
WebAPI配置说明
移动端专题
自定义移动端首页配置
logo专题
更换浏览器标签页Tab显示图标(限8\.7\.4或以上版本)
聊天机器人按钮图片上传
文件专题
部署后无法上传背景图附件、同步工具无法同步组件文件或菜单自定义图标
操作视频
搜索
禁用规则
文本格式
子表创建
流程创建
高级控件使用
合同管理应用
关联表和计算规则
基础控件使用
主表、子表排序设置
异常处理
Icp
常用排查SQL
MongoDB
基本
mysql
mysql服务被系统杀死
MySQL错误\-this is incompatible with sql\_mode\=only\_full\_group\_by
调优
RabbitMQ
rabbitmq坑点与异常处理
企业微信登录提示用户验证失败
本文档使用 MrDoc 发布
-
+
首页
接口补偿操作手册
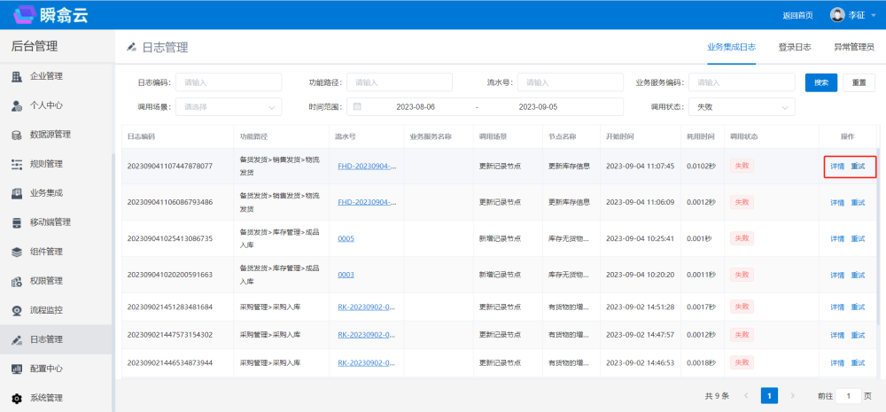
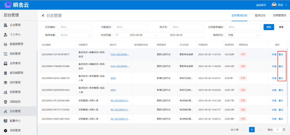
# 接口补偿操作手册 ## 功能说明 * 本功能需要在后台“业务集成”中调用接口 * 主要用在工作流表单的“业务动作”流程节点 * 可以调用单个接口,也可以调用多个接口 * 当接口“重试”和“补偿”失败后,可以用“发邮件”的形式通知相关管理人员 * 接口的操作日志在后台“日志管理”中的“业务方法日志”中可以查看 ## 操作步骤 #### 1\. 在后台“业务集成”配置接口 a. 进入后台“业务集成”,点击“添加”按钮,**适配器**选择“RESTful Adapter”,**HttpMethod** 选择 “HttpGet”  b. 在 **URL**中填写 接口的地址,在 **出参** 中配置 输出参数 的名称,例如下图:  c. 完成后点击保存,接口就配置好了 #### 2\. “业务方法”中,调用接口 a. 点击“功能设计” 进入后台的“高级设计”,找到“业务方法”,点击“添加”按钮,添加一个业务方法  b. 业务方法添加成功后,点击添加的业务方法,再点击“绑定业务服务”,选择“业务名称”(找到在后台“业务集成”中配置的接口),选择完成后,点击 确定 按钮  c. 在“业务方法与服务映射列表”中,点击“编辑”按钮,在弹窗中点击“打开”按钮,选择“**Const**”(自定义模式),在常量框中输入 接口输出参数的值 (例中的接口为Status)  d. 配置完成后,点击“确定”后,点击“保存”按钮,再进入下一步  #### 3\. 进入“流程设计”,调用“业务方法” 进入“流程设计”,拖入一个“集成”流程节点,在右侧属性面板中进行设置  * **业务动作:** 选择在“高级设计”中“业务方法”配置的业务方法 (如果此时业务动作为空,请先将流程保存后刷新页面) * **重试次数/补偿次数:** 设置当接口出现错误时,流程将进行 重试/补偿 的次数 * **重试时间(秒)/补偿时间(秒):** 设置 重试/补偿 次数中间间隔的时间(单位:秒) * **调用方式:** 1. 同步:当调用方式为“同步”时,接口出现错误,流程将进行“重试”和“补偿”,流程不会往下走; 当接口数量为多个时,第一个接口出现错误时,将不会调用第二个接口 2. 异步:当调用方式为“异步”时,接口出现错误,流程将进行“重试”和“补偿”,流程会往下走; 当接口数量为多个时,多个接口将同时启动,不论接口是否错误,流程都会往下走 * **补偿完成后激活下一节点:** 1. 当选择“是”时,接口参数在补偿阶段,将参数修改正确,补偿完成后,流程将继续往下走 2. 当选择“否”时,接口参数在补偿阶段,将参数修改正确,补偿完成后,流程将不会往下走 * **通知方式:** 当接口出现错误时,可以通过邮件等方式将消息发送给相关人员 * **接收人:** 可以设置为“组织机构”里的人员 * **消息标题:** 设置通知消息的标题(无需双引号) * **消息内容:** 设置通知消息的内容(可以使用表单中的字段) #### 4\. “日志管理”中的“重试”按钮 当接口参数出现错误,在规定的“重试”和“补偿”次数结束之后,再将参数修改正确,可以到后台“日志管理”中的“业务方法日志”点击 对应的操作日志 后边的“重试”按钮,进行重试启动“重试”和“补偿”  ## 案例 #### 单接口 ##### 案例说明 * 设置一个单接口的流程,调用方式为“同步”,将接口的参数设置为错误 * 在规定的“重试”和“补偿”结束之后,系统将以邮箱的形式发送一条通知,报告“重试”和“补偿”失败,需要手动修改参数 * 收到邮箱通知之后,手动将参数修改正确,点击“日志管理”里的“重试”按钮,流程将继续往下走 说明:接口的URL为:[http://192\.168\.16\.162:5300/api/Test/TestGetIP](http://192.168.16.162:5300/api/Test/TestGetIP) 接口的参数为:Status : 1 1. 在后台“业务集成”中添加一个“业务方法”,调用接口,业务方法的名称为“satus1”  2. 到表单的“高级设计”中,添加业务方法,将接口名称命名为“接口测试”,将接口的参数修改为 0 (接口的正确参数为 1),点击保存  3. 到流程设计中,在“**业务动作**”流程节点中添加业务方法“接口测试” **重试次数/补偿次数** 分别设置为3次和2次 **重试时间/补偿时间** 分别设置为5秒和10秒 **调用方式**为“同步” **通知方式**设置为“Email” **接收人**设置为“小管理”(接收人的信息里需要有邮箱地址) **消息标题**为“接口补偿失败”, **消息内容**可以引用表单中的字段,也可以自定义,在本例中,设置的是表单中的字段  4. 发起一个流程,当流程节点流转到“业务动作”时,查看“日志管理”,当接口在规定时间内“重试”和“补偿”完成后,将会收到系统发过来的邮件  5. 将参数修改正确  6. 点击“日志管理”中的“重试”按钮  7. 重试成功,流程继续往下走
xiaohang
2025年7月9日 10:42
转发文档
收藏文档
上一篇
下一篇
手机扫码
复制链接
手机扫一扫转发分享
复制链接
Markdown文件
PDF文档(打印)
分享
链接
类型
密码
更新密码